Productinformatie
-
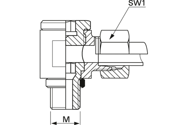
Technische gegevens
Bedrijfsdruk [bar]: 100 Barstdruk [bar]: 400 Leidingdiam. R [mm]: 18 Schroefdraad [G1]: M26 x 1,5 Schroefdraad [G2]: M22 x 1,5 Serie: L SW1 [mm]: 36 SW2 [mm]: 14 SW3 [mm]: 32 Aansluitingmethode 1: Metrisch 24° Aansluitingmethode 2: Metrisch Beschrijving: Weerstandloze gebogen zwenkbare schroefkoppeling Bestendigheid tegen roodroest [h]: 1000 Bestendigheid tegen witroest [h]: 500 Materiaal: Staal Oppervlak: Cr(III) Uitvoering: Hoek 90°

