Informations produits
-
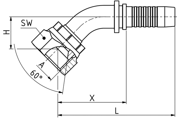
Données techniques
DN: 10 Size: 06 Pouce: 3/8 Filetage + norme: Tête d'étanchéité Komatsu, cône 60° avec écrou-raccord, filetage métrique Filetage de raccord A: M18x1,5 X [mm]: 45,7 L1 [mm]: 79,2 H [mm]: 21,4 SW1 [mm]: 22 Désignation de raccord Indunorm: MJF 45° Forme: 45° Gamme d'embout à sertir: Programme universel XV Matériau: Acier de décolletage Résistance à la rouille blanche [h]: 72 Résistance à la rouille rouge [h]: 144 Surface: Chrome III Type de raccord: Komatsu 45° avec écrou-raccord métrique

