Informations produits
-
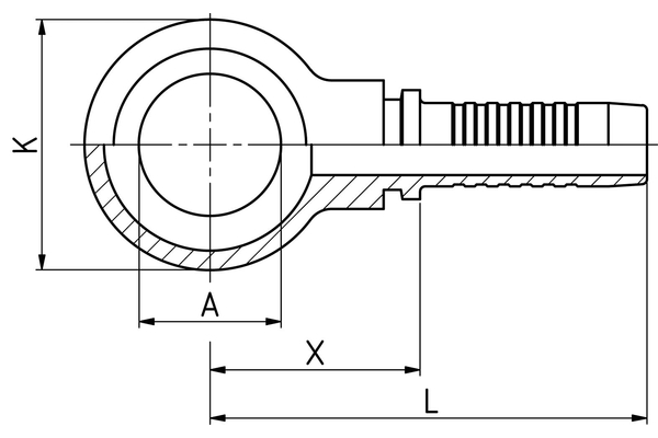
Données techniques
DN: 12 Size: 08 Pouce: 1/2 Filetage + norme: Embout à bague selon DIN 7642 pour vis creuses métriques X [mm]: 29,3 L1 [mm]: 61,8 Alésage de l'embout annulaire [mm]: M18 DE embout annulaire K: 32,0 A: 18,1 Désignation de raccord Indunorm: MRN Forme: 0° Gamme d'embout à sertir: Programme universel XV Matériau: Acier de décolletage Résistance à la rouille blanche [h]: 72 Résistance à la rouille rouge [h]: 144 Surface: Chrome III Type de raccord: RGN

