Informations produits
-
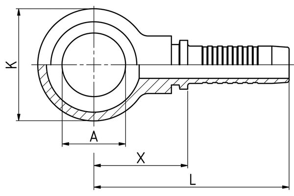
Données techniques
DN: 16 Size: 10 Pouce: 5/8 Filetage + norme: Embout à bague selon DIN 7642 pour vis creuses métriques X [mm]: 30,5 L1 [mm]: 70,5 Alésage de l'embout annulaire [mm]: M22 DE embout annulaire K: 39,0 A: 22,1 Désignation de raccord Indunorm: MRN Forme: 0° Gamme d'embout à sertir: Programme universel XV Matériau: Acier de décolletage Résistance à la rouille blanche [h]: 72 Résistance à la rouille rouge [h]: 144 Surface: Chrome III Type de raccord: RGN

