Informations produits
-
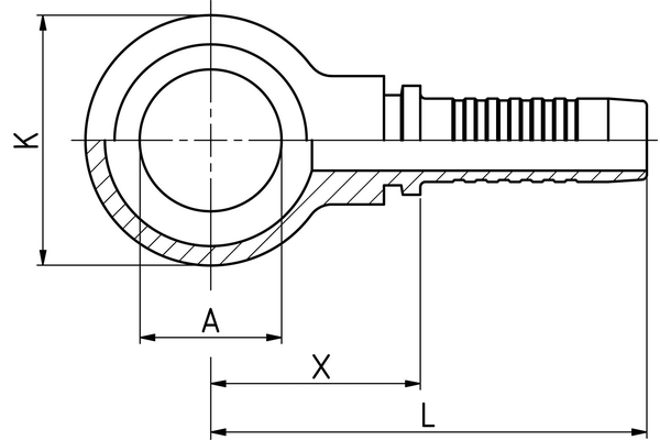
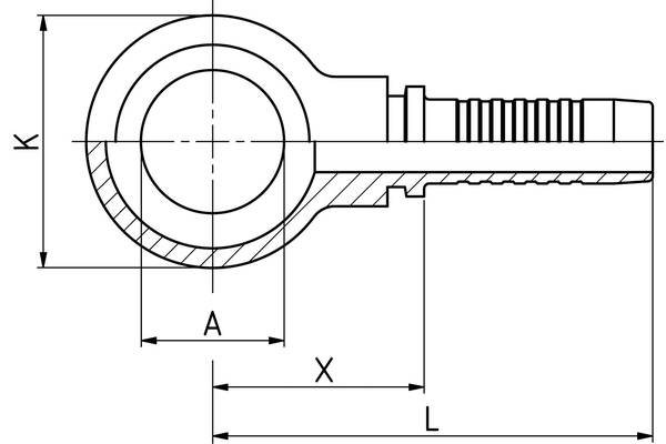
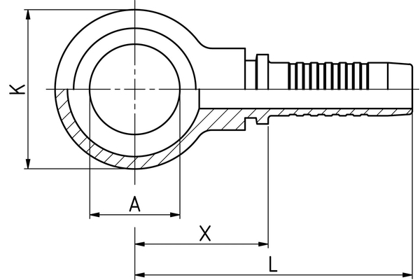
Données techniques
DN: 10 Size: 06 Pouce: 3/8 Filetage + norme: Embout à bague vis creuses fractionnaires X [mm]: 26,9 L1 [mm]: 57,4 Alésage de l'embout annulaire [mm]: 3/8" A: 16,8 Désignation de raccord Indunorm: BKG Forme: 0° Gamme d'embout à sertir: Programme universel XV Matériau: Acier de décolletage Résistance à la rouille blanche [h]: 72 Résistance à la rouille rouge [h]: 144 Surface: Chrome III Type de raccord: RGN

