Informations produits
-
Données techniques
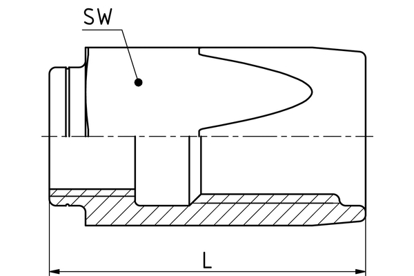
DN: 06 Size: 04 Pouce: 1/4 L [mm]: 40,6 SW1 [mm]: 21 Application: Douille non dénudée Gamme d'embout à sertir: Embouts à visser R Matériau: Acier de décolletage Résistance à la rouille blanche [h]: 72 Résistance à la rouille rouge [h]: 144

